专利数据库
统计分析
产业报告
专利数据监控
产业人才
行业动态
产业政策法规
维权援助
个人中心
详情
文本
图像
标题
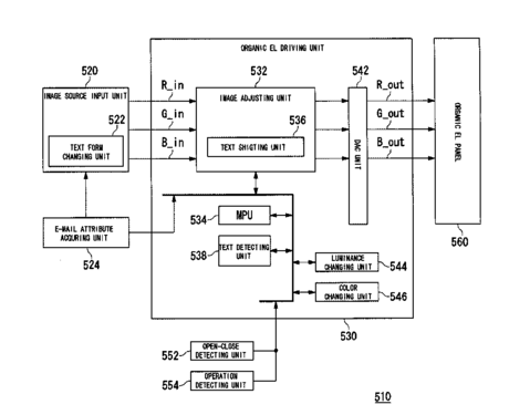
Organic electro luminescense display apparatus and application thereof
授权日
2009-07-14
公开(公告)号
US7561127
申请日
2004-09-03
公开(公告)日
2009-07-14
当前申请(专利权)人
SANYO ELELCTRIC CO., LTD.
发明人
MORI, YUKIO | TANASE, SUSUMU | YAMASHITA, ATSUHIRO | INOUE, MASUTAKA | KINOSHITA, SHIGEO | MURATA, HARUHIKO | YABUKAWA, TAKASHI | GOYA, HIROYUKI | TANEYA, YUICHI | ICHINO, MASAE | NAKAMOTO, KAZUO
简单同族
AU2003211470A1 | CN100386792C | CN101127192A | CN101251981A | CN101251981B | CN1639762A | EP1489589A1 | EP1489589A4 | JP2008197675A | JP2008257257A | JP4346669B2 | JPWO2003075255A1 | KR100799886B1 | KR1020040111381A | US20050093850A1 | US20090170564A1 | US20120212500A1 | US20130293597A1 | US7561127 | US8194007 | WO2003075255A1
简单同族成员数量
21
简单同族被引用专利总数
180
诉讼案件数
0
法律状态/事件
授权 | 权利转移
抱歉,您的浏览器不支持PDF预览,请点击链接下载PDF文件