专利数据库
统计分析
产业报告
专利数据监控
产业人才
行业动态
产业政策法规
维权援助
个人中心
详情
文本
图像
标题
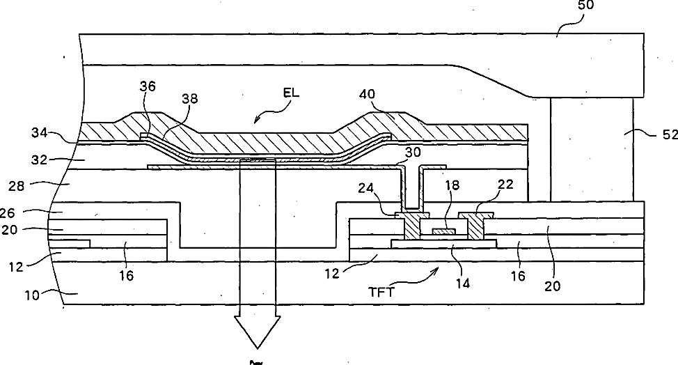
Electroluminescence display apparatus
授权日
1900-01-01
公开(公告)号
US20040066136A1
申请日
2003-07-24
公开(公告)日
2004-04-08
当前申请(专利权)人
SANYO ELECTRIC CO., LTD.
发明人
YONEDA, KIYOSHI | NISHIKAWA, RYUJI | SUZUKI, KOJI | ICHIKAWA, SHINJI
简单同族
CN1481203A | KR100535855B1 | KR1020040010367A | TW200402157A | TWI224880B | US20040066136A1 | US6850005
简单同族成员数量
7
简单同族被引用专利总数
62
诉讼案件数
0
法律状态/事件
授权 | 权利转移
抱歉,您的浏览器不支持PDF预览,请点击链接下载PDF文件