专利数据库
统计分析
产业报告
专利数据监控
产业人才
行业动态
产业政策法规
维权援助
个人中心
详情
文本
图像
标题
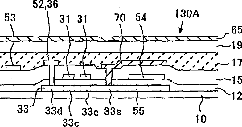
Display device
授权日
2008-02-12
公开(公告)号
US7330168
申请日
2003-04-30
公开(公告)日
2008-02-12
当前申请(专利权)人
SANYO ELECTRIC CO., LTD.
发明人
ANZAI, KATSUYA
简单同族
CN1276404C | CN1455381A | JP2003323133A | JP2003323133A5 | JP4027149B2 | KR100527029B1 | KR1020030085508A | TW200306754A | TWI248775B | US20040012548A1 | US7330168
简单同族成员数量
11
简单同族被引用专利总数
81
诉讼案件数
0
法律状态/事件
授权 | 权利转移
抱歉,您的浏览器不支持PDF预览,请点击链接下载PDF文件