专利数据库
统计分析
产业报告
专利数据监控
产业人才
行业动态
产业政策法规
维权援助
个人中心
详情
文本
图像
标题
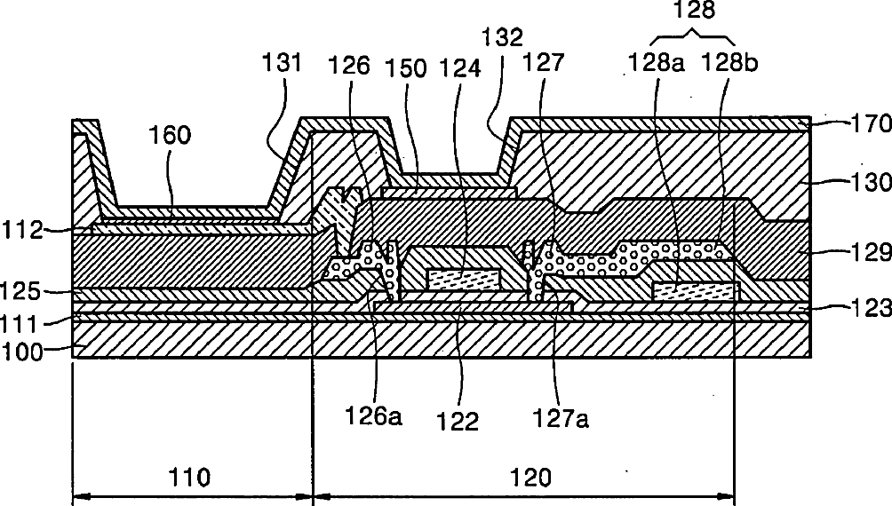
Organic electroluminescent display and method of manufacturing the same
授权日
1900-01-01
公开(公告)号
US20040056591A1
申请日
2003-09-17
公开(公告)日
2004-03-25
当前申请(专利权)人
SAMSUNG DISPLAY CO., LTD.
发明人
KOO, JAE-BON | PARK, SANG-II
简单同族
CN100377383C | CN1496202A | JP2004111369A | KR1020040025383A | US20040056591A1 | US20050194890A1 | US20060019573A1 | US6917160 | US7034455 | US7507609
简单同族成员数量
10
简单同族被引用专利总数
88
诉讼案件数
0
法律状态/事件
授权 | 权利转移
抱歉,您的浏览器不支持PDF预览,请点击链接下载PDF文件