专利数据库
统计分析
产业报告
专利数据监控
产业人才
行业动态
产业政策法规
维权援助
个人中心
详情
文本
图像
标题
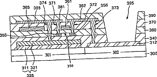
Flat panel display with black matrix and method of fabricating thereof
授权日
2005-02-15
公开(公告)号
US6855960
申请日
2003-01-30
公开(公告)日
2005-02-15
当前申请(专利权)人
SAMSUNG DISPLAY CO., LTD.
发明人
PARK, SANG-IL | SHIN, DONG-CHAN | KIM, HYE-DONG | KIM, CHANG-SU
简单同族
CN1329997C | CN1452252A | JP2004046087A | JP3828505B2 | KR100462861B1 | KR1020030081955A | US20030193284A1 | US20050179829A1 | US6855960 | US7321405
简单同族成员数量
10
简单同族被引用专利总数
65
诉讼案件数
0
法律状态/事件
未缴年费 | 权利转移
抱歉,您的浏览器不支持PDF预览,请点击链接下载PDF文件