专利数据库
统计分析
产业报告
专利数据监控
产业人才
行业动态
产业政策法规
维权援助
个人中心
详情
文本
图像
标题
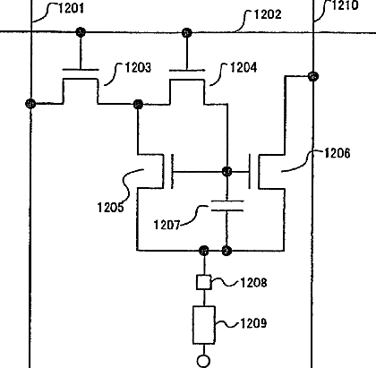
Display device and electronic equipment using the same
授权日
2012-07-31
公开(公告)号
US8232937
申请日
2010-09-27
公开(公告)日
2012-07-31
当前申请(专利权)人
SEMICONDUCTOR ENERGY LABORATORY CO., LTD.
发明人
KOYAMA, JUN
简单同族
US20030030382A1 | US20050099371A1 | US20070188421A1 | US20110074661A1 | US20120267634A1 | US6876350 | US7176859 | US7804467 | US8232937 | US8749455
简单同族成员数量
10
简单同族被引用专利总数
125
诉讼案件数
0
法律状态/事件
授权
抱歉,您的浏览器不支持PDF预览,请点击链接下载PDF文件