专利数据库
统计分析
产业报告
专利数据监控
产业人才
行业动态
产业政策法规
维权援助
个人中心
详情
文本
图像
标题
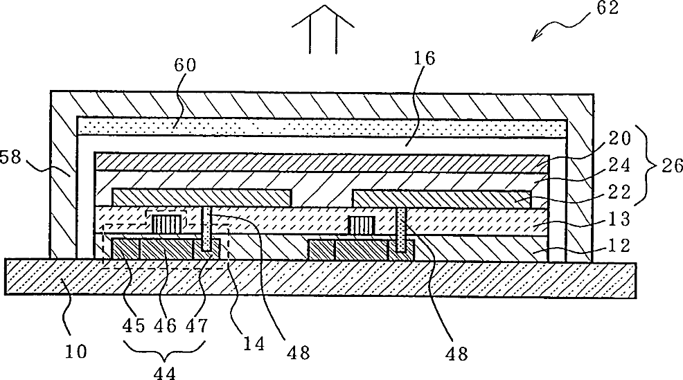
Organic el display
授权日
1900-01-01
公开(公告)号
US20030071567A1
申请日
2001-07-30
公开(公告)日
2003-04-17
当前申请(专利权)人
IDEMITSU KOSAN CO., LTD.
发明人
EIDA, MITSURU | TOMOIKE, KAZUHIRO
简单同族
CN101393967A | CN1389085A | EP1317165A1 | EP1317165B1 | KR100748818B1 | KR100773674B1 | KR1020020044565A | KR1020070049248A | TWI244876B | US20030071567A1 | US20050275346A1 | US6963168 | US7548020 | WO2002017689A1
简单同族成员数量
14
简单同族被引用专利总数
175
诉讼案件数
0
法律状态/事件
授权 | 权利转移
抱歉,您的浏览器不支持PDF预览,请点击链接下载PDF文件