专利数据库
统计分析
产业报告
专利数据监控
产业人才
行业动态
产业政策法规
维权援助
个人中心
详情
文本
图像
标题
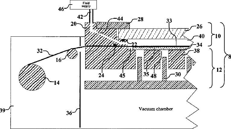
Apparatus for permitting transfer of organic material from a donor web to form a layer in an OLED device
授权日
2004-02-24
公开(公告)号
US6695030
申请日
2002-08-20
公开(公告)日
2004-02-24
当前申请(专利权)人
GLOBAL OLED TECHNOLOGY LLC
发明人
PHILLIPS, BRADLEY A. | KAY, DAVID B.
简单同族
CN1485218A | EP1391946A2 | EP1391946A3 | JP2004079540A | KR1020040017787A | TW200403952A | US6695030
简单同族成员数量
7
简单同族被引用专利总数
86
诉讼案件数
0
法律状态/事件
授权 | 权利转移
抱歉,您的浏览器不支持PDF预览,请点击链接下载PDF文件