专利数据库
统计分析
产业报告
专利数据监控
产业人才
行业动态
产业政策法规
维权援助
个人中心
详情
文本
图像
标题
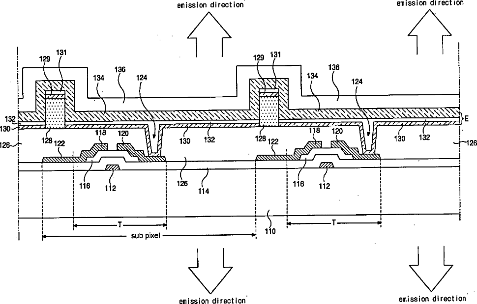
Transmissive-type organic electroluminescent display device and fabricating method of the same
授权日
1900-01-01
公开(公告)号
US20040113545A1
申请日
2003-09-22
公开(公告)日
2004-06-17
当前申请(专利权)人
LG DISPLAY CO., LTD.
发明人
PANG, HEE-SOK | KIM, KWAN-SOO
简单同族
CN100590880C | CN1496203A | KR100489590B1 | KR1020040025449A | US20040113545A1 | US7173371
简单同族成员数量
6
简单同族被引用专利总数
67
诉讼案件数
0
法律状态/事件
授权 | 权利转移
抱歉,您的浏览器不支持PDF预览,请点击链接下载PDF文件