专利数据库
统计分析
产业报告
专利数据监控
产业人才
行业动态
产业政策法规
维权援助
个人中心
详情
文本
图像
标题
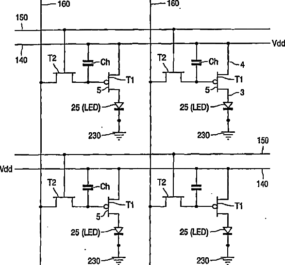
Active matrix electroluminescent display devices, and their manufacture
授权日
1900-01-01
公开(公告)号
US20070290956A1
申请日
2007-08-29
公开(公告)日
2007-12-20
当前申请(专利权)人
BEIJING XIAOMI MOBILE SOFTWARE CO., LTD.
发明人
YOUNG, NIGEL DAVID | CHILDS, MARK JOHNATHAN | FISH, DAVID ANDREW | HECTOR, JASON RODERICK
简单同族
AT396500T | AU2003209595A1 | CN1643693A | DE60321146D1 | EP1488459A1 | EP1488459B1 | JP2005521207A | JP4360918B2 | TW200401446A | TWI284981B | US20050127376A1 | US20070290956A1 | US7271409 | US7817121 | WO2003079449A1
简单同族成员数量
15
简单同族被引用专利总数
61
诉讼案件数
0
法律状态/事件
授权 | 权利转移
抱歉,您的浏览器不支持PDF预览,请点击链接下载PDF文件