专利数据库
统计分析
产业报告
专利数据监控
产业人才
行业动态
产业政策法规
维权援助
个人中心
详情
文本
图像
标题
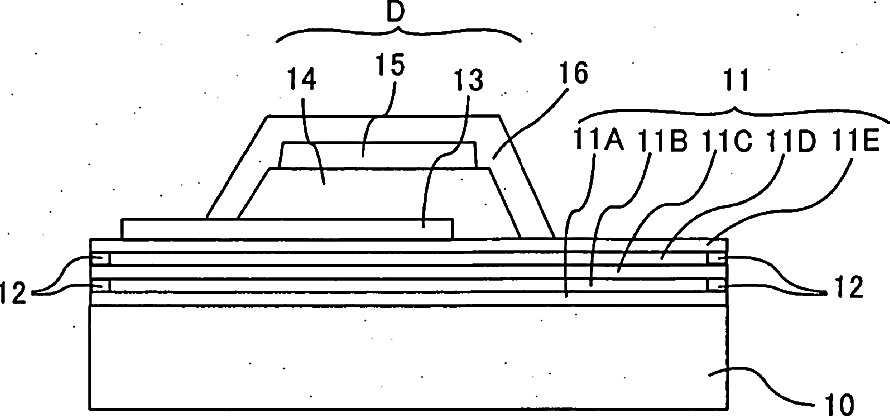
Multilayer barrier film structure and organic electroluminescent display panel and manufacturing method thereof
授权日
1900-01-01
公开(公告)号
US20050017633A1
申请日
2003-09-23
公开(公告)日
2005-01-27
当前申请(专利权)人
PIONEER CORPORATION
发明人
MIYADERA, TOSHIYUKI
简单同族
JP2004119138A | JP4185341B2 | US20050017633A1 | US7208872
简单同族成员数量
4
简单同族被引用专利总数
142
诉讼案件数
0
法律状态/事件
未缴年费 | 权利转移
抱歉,您的浏览器不支持PDF预览,请点击链接下载PDF文件