专利数据库
统计分析
产业报告
专利数据监控
产业人才
行业动态
产业政策法规
维权援助
个人中心
详情
文本
图像
标题
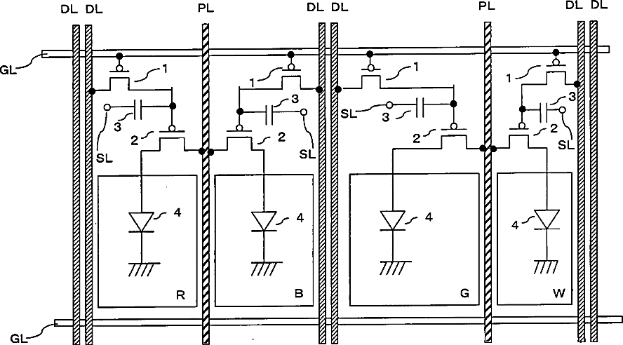
Organic EL panel
授权日
1900-01-01
公开(公告)号
US20050073264A1
申请日
2004-09-27
公开(公告)日
2005-04-07
当前申请(专利权)人
SANYO ELECTRIC CO., LTD.
发明人
MATSUMOTO, SHOICHIRO
简单同族
CN100570684C | CN1604699A | JP2005106993A | JP4443179B2 | KR100692329B1 | KR1020050031413A | TW200512697A | TWI253603B | US20050073264A1 | US7102293
简单同族成员数量
10
简单同族被引用专利总数
147
诉讼案件数
0
法律状态/事件
授权 | 权利转移
抱歉,您的浏览器不支持PDF预览,请点击链接下载PDF文件