专利数据库
统计分析
产业报告
专利数据监控
产业人才
行业动态
产业政策法规
维权援助
个人中心
详情
文本
图像
标题
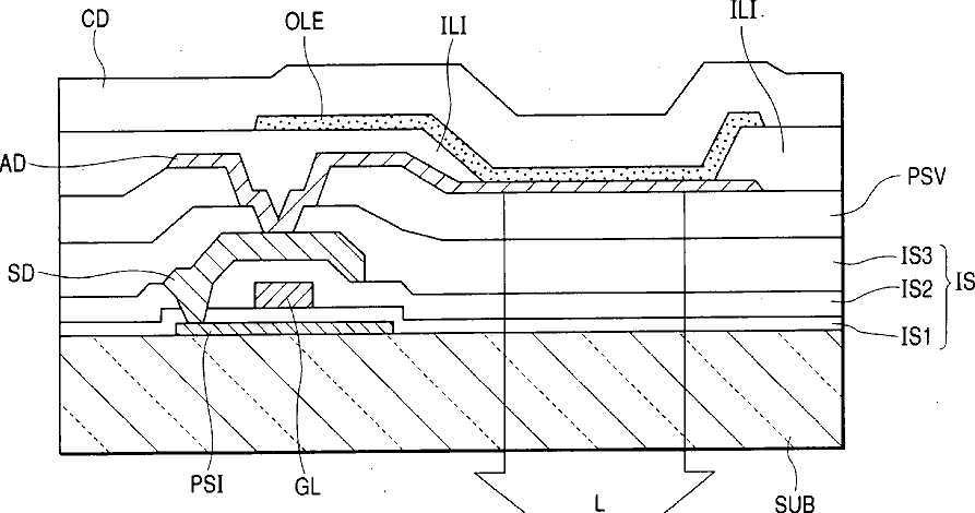
Display module
授权日
1900-01-01
公开(公告)号
US20050194894A1
申请日
2005-04-25
公开(公告)日
2005-09-08
当前申请(专利权)人
SAMSUNG DISPLAY CO., LTD.
发明人
SATO, TOSHIHIRO
简单同族
JP2002287666A | JP3608613B2 | KR100502747B1 | KR1020020077139A | TW569165B | US10062744 | US20020140643A1 | US20050194894A1 | US20060132029A1 | US20080180366A1 | US20120256815A1 | US20140264306A1 | US20150155343A1 | US20150318336A1 | US20160079335A1 | US20170309697A1 | US6888304 | US6977463 | US8232934 | US8766884 | US9214504 | US9627464 | US9653529 | US9735220
简单同族成员数量
24
简单同族被引用专利总数
175
诉讼案件数
0
法律状态/事件
授权 | 权利转移
抱歉,您的浏览器不支持PDF预览,请点击链接下载PDF文件