专利数据库
统计分析
产业报告
专利数据监控
产业人才
行业动态
产业政策法规
维权援助
个人中心
详情
文本
图像
标题
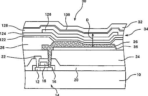
Electroluminescence panel
授权日
2009-06-16
公开(公告)号
US7548019
申请日
2005-06-20
公开(公告)日
2009-06-16
当前申请(专利权)人
SANYO ELECTRIC CO, LTD.
发明人
OMURA, TETSUJI | NISHIKAWA, RYUJI
简单同族
CN100459213C | CN1717135A | KR1020060046476A | TW200603678A | TWI272039B | US20050280364A1 | US7548019
简单同族成员数量
7
简单同族被引用专利总数
147
诉讼案件数
0
法律状态/事件
授权 | 权利转移
抱歉,您的浏览器不支持PDF预览,请点击链接下载PDF文件