专利数据库
统计分析
产业报告
专利数据监控
产业人才
行业动态
产业政策法规
维权援助
个人中心
详情
文本
图像
标题
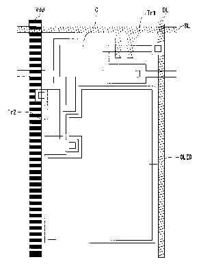
Display apparatus
授权日
2004-07-13
公开(公告)号
US6762564
申请日
2003-03-05
公开(公告)日
2004-07-13
当前申请(专利权)人
SANYO ELECTRIC CO., LTD.
发明人
NOGUCHI, YUKIHIRO | MATSUMOTO, SHOICHIRO
简单同族
CN1246824C | CN1448913A | JP2003330387A | KR100689933B1 | KR100914564B1 | KR1020030074184A | KR1020060125634A | US20030168992A1 | US6762564
简单同族成员数量
9
简单同族被引用专利总数
119
诉讼案件数
0
法律状态/事件
授权 | 权利转移
抱歉,您的浏览器不支持PDF预览,请点击链接下载PDF文件