专利数据库
统计分析
产业报告
专利数据监控
产业人才
行业动态
产业政策法规
维权援助
个人中心
详情
文本
图像
标题
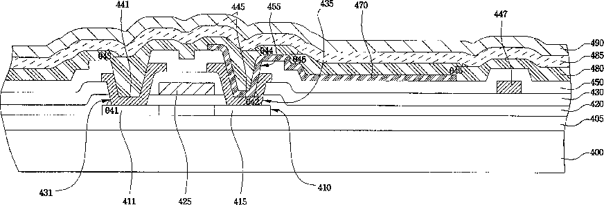
Flat panel display with taper reducing layer
授权日
2011-11-22
公开(公告)号
US8063550
申请日
2004-09-23
公开(公告)日
2011-11-22
当前申请(专利权)人
SAMSUNG DISPLAY CO., LTD.
发明人
KIM, MU-HYUN | CHIN, BYUNG-DOO | SONG, MYUNG-WON | LEE, SEONG-TAEK
简单同族
CN100511753C | CN101257038A | CN101257038B | CN1622699A | EP1536471A2 | EP1536471A3 | EP1536471B1 | JP2005158672A | KR100741962B1 | KR1020050051058A | US20050116240A1 | US8063550
简单同族成员数量
12
简单同族被引用专利总数
93
诉讼案件数
0
法律状态/事件
授权 | 权利转移
抱歉,您的浏览器不支持PDF预览,请点击链接下载PDF文件