专利数据库
统计分析
产业报告
专利数据监控
产业人才
行业动态
产业政策法规
维权援助
个人中心
详情
文本
图像
标题
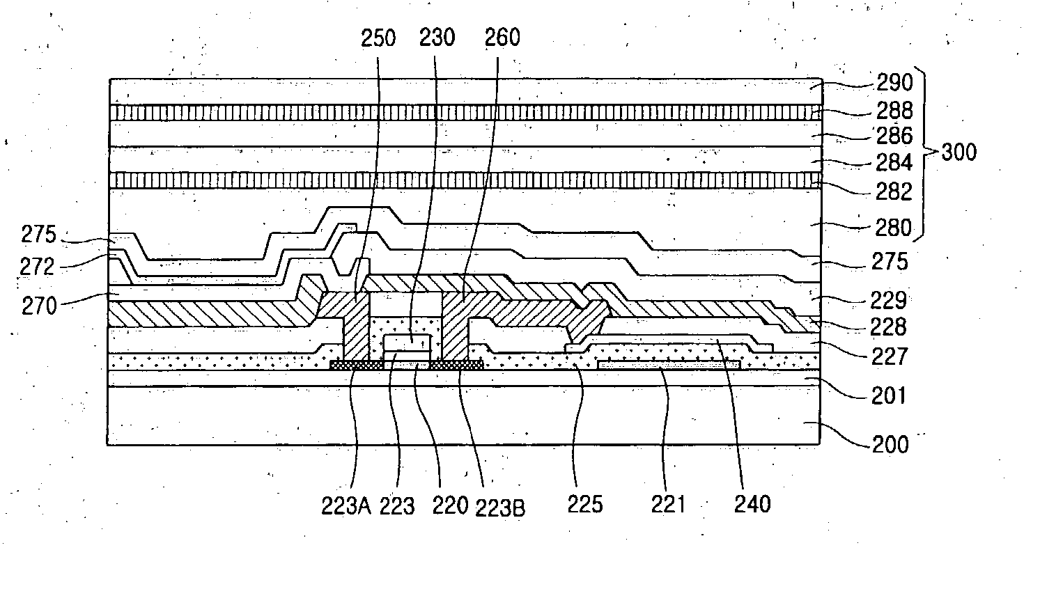
Organic electro-luminescent display device and method of fabricating the same
授权日
1900-01-01
公开(公告)号
US20040041147A1
申请日
2003-06-30
公开(公告)日
2004-03-04
当前申请(专利权)人
LG DISPLAY CO., LTD.
发明人
PARK, JAE-YONG
简单同族
CN100369289C | CN1487779A | KR100885843B1 | KR1020040020673A | US20040041147A1 | US6849922
简单同族成员数量
6
简单同族被引用专利总数
83
诉讼案件数
0
法律状态/事件
授权 | 权利转移
抱歉,您的浏览器不支持PDF预览,请点击链接下载PDF文件