专利数据库
统计分析
产业报告
专利数据监控
产业人才
行业动态
产业政策法规
维权援助
个人中心
详情
文本
图像
标题
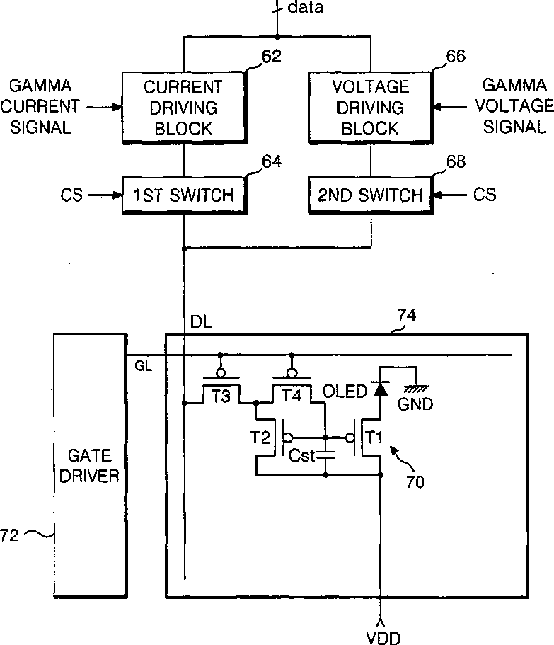
Electro-luminescence display device with data driver capable of applying current and voltage signals and driving method thereof
授权日
2011-04-12
公开(公告)号
US7924245
申请日
2004-04-16
公开(公告)日
2011-04-12
当前申请(专利权)人
LG DISPLAY CO., LTD.
发明人
KIM, CHANG YEON | LEE, HAN SANG | LEE, MYUNG HO
简单同族
CN100487774C | CN1637815A | JP2005196116A | KR100580554B1 | KR1020050068417A | TW200521911A | TWI284299B | US20050140598A1 | US7924245
简单同族成员数量
9
简单同族被引用专利总数
165
诉讼案件数
0
法律状态/事件
授权 | 权利转移
抱歉,您的浏览器不支持PDF预览,请点击链接下载PDF文件