专利数据库
统计分析
产业报告
专利数据监控
产业人才
行业动态
产业政策法规
维权援助
个人中心
详情
文本
图像
标题
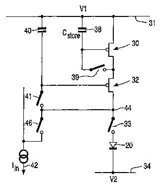
Electroluminescent display device
授权日
2007-05-22
公开(公告)号
US7221342
申请日
2003-02-07
公开(公告)日
2007-05-22
当前申请(专利权)人
INNOLUX CORPORATION
发明人
FISH, DAVID ANDREW
简单同族
AU2003205984A1 | EP1485902A1 | GB0205859D0 | JP2005520192A | KR100930954B1 | KR1020040101287A | TW200403612A | TWI268465B | US20050151705A1 | US7221342 | WO2003077230A1
简单同族成员数量
11
简单同族被引用专利总数
55
诉讼案件数
0
法律状态/事件
授权 | 权利转移
抱歉,您的浏览器不支持PDF预览,请点击链接下载PDF文件