专利数据库
统计分析
产业报告
专利数据监控
产业人才
行业动态
产业政策法规
维权援助
个人中心
详情
文本
图像
标题
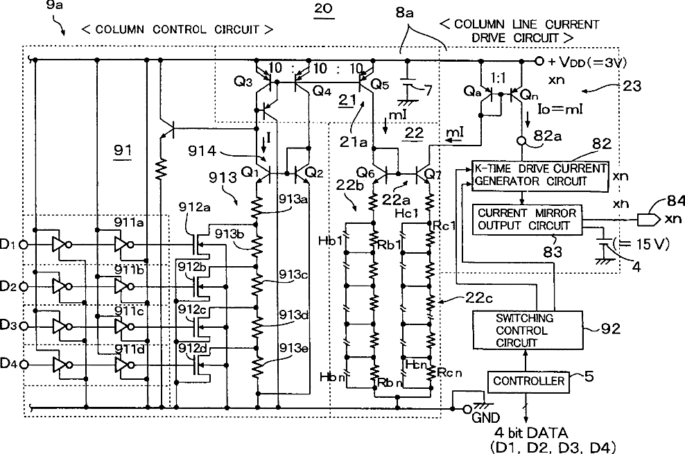
Organic EL drive circuit and organic EL display device using the same
授权日
2003-07-01
公开(公告)号
US6586888
申请日
2002-03-22
公开(公告)日
2003-07-01
当前申请(专利权)人
ROHM CO., LTD.
发明人
KITAHARA, SHINJI | HANADA, KOUICHI | MAEDE, JUN
简单同族
KR100507549B1 | KR1020020076146A | TW522754B | US20020135314A1 | US6586888
简单同族成员数量
5
简单同族被引用专利总数
87
诉讼案件数
0
法律状态/事件
授权 | 权利转移
抱歉,您的浏览器不支持PDF预览,请点击链接下载PDF文件