专利数据库
统计分析
产业报告
专利数据监控
产业人才
行业动态
产业政策法规
维权援助
个人中心
详情
文本
图像
标题
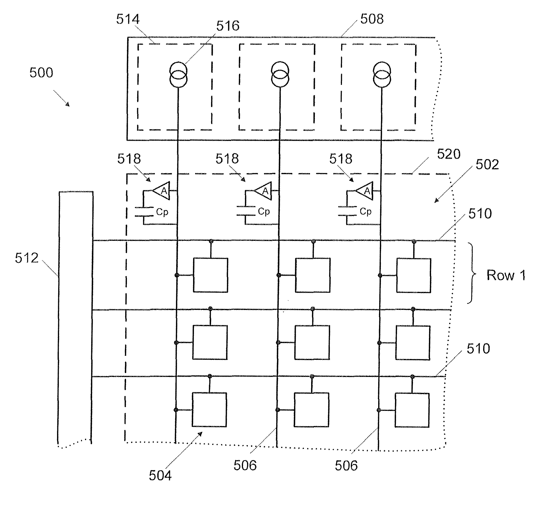
Method of compensating for capacitance of a programming line of an OLED display
授权日
2014-07-29
公开(公告)号
US8791887
申请日
2009-08-13
公开(公告)日
2014-07-29
当前申请(专利权)人
CAMBRIDGE DISPLAY TECHNOLOGY LIMITED
发明人
SMITH, EUAN | RANKOV, ALEKSANDRA | THOMPSON, BARRY
简单同族
GB0814931D0 | GB2462646A | GB2462646B | JP2012500407A | JP5517364B2 | TW201027491A | TWI486933B | US20110181630A1 | US8791887 | WO2010018380A1
简单同族成员数量
10
简单同族被引用专利总数
98
诉讼案件数
0
法律状态/事件
未缴年费 | 权利转移
抱歉,您的浏览器不支持PDF预览,请点击链接下载PDF文件