专利数据库
统计分析
产业报告
专利数据监控
产业人才
行业动态
产业政策法规
维权援助
个人中心
详情
文本
图像
标题
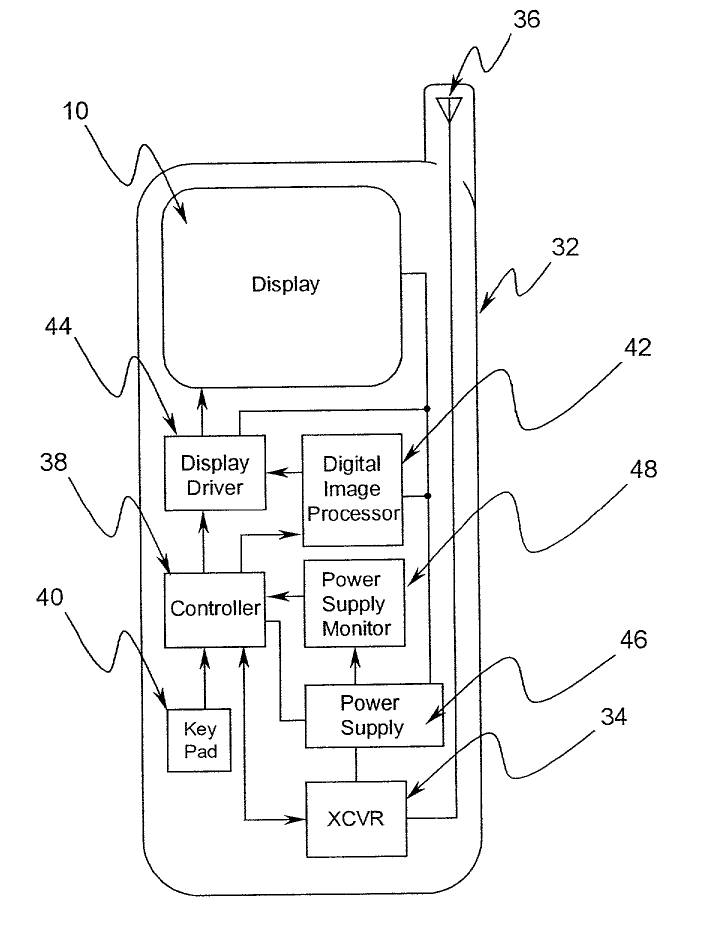
Method for saving power in an organic electroluminescent display
授权日
1900-01-01
公开(公告)号
US20020180723A1
申请日
2001-06-05
公开(公告)日
2002-12-05
当前申请(专利权)人
GLOBAL OLED TECHNOLOGY LLC
发明人
SIWINSKI, MICHAEL J.
简单同族
US20020180723A1 | US7102632
简单同族成员数量
2
简单同族被引用专利总数
56
诉讼案件数
0
法律状态/事件
授权 | 权利转移
抱歉,您的浏览器不支持PDF预览,请点击链接下载PDF文件