专利数据库
统计分析
产业报告
专利数据监控
产业人才
行业动态
产业政策法规
维权援助
个人中心
详情
文本
图像
标题
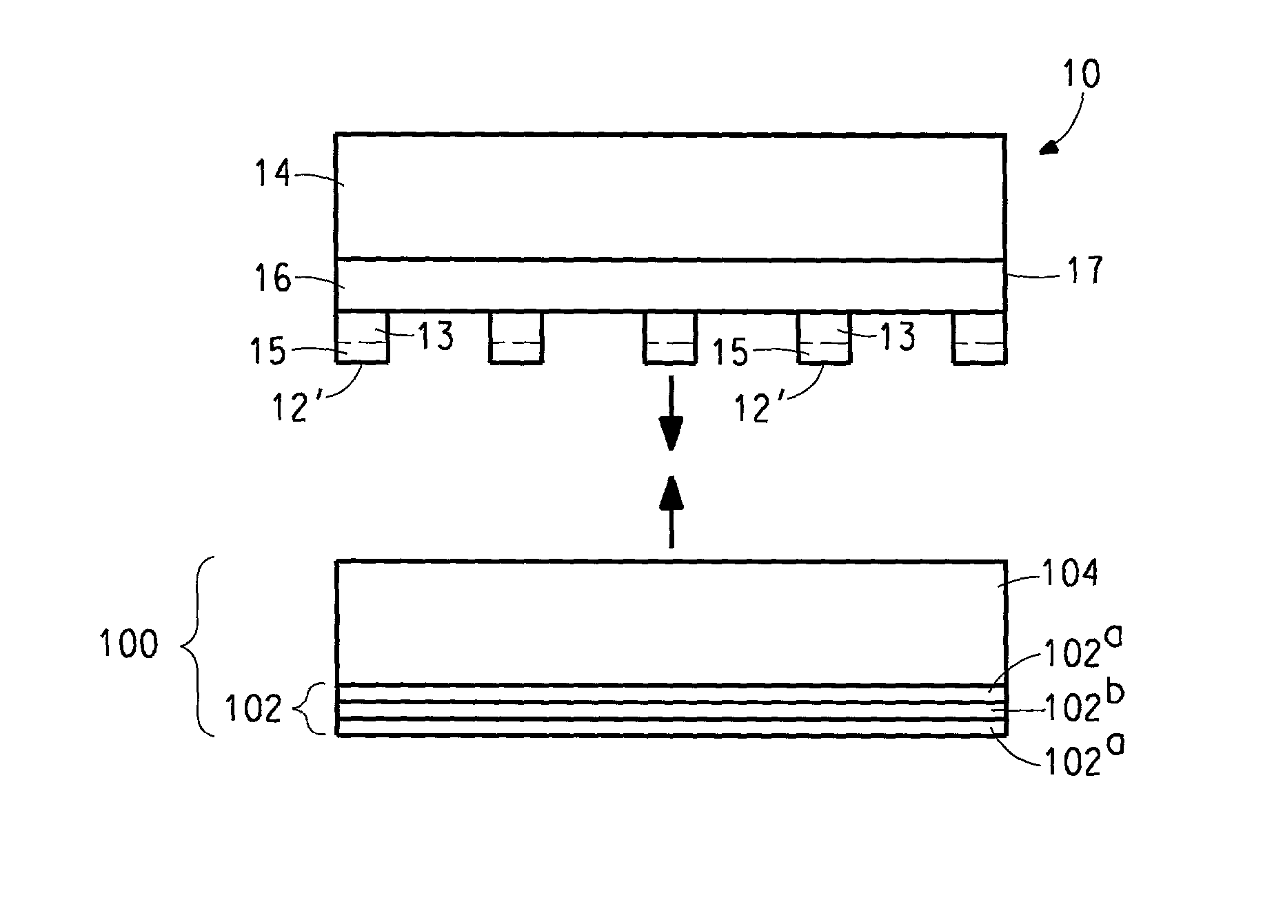
Thermal imaging processes and products of electroactive organic material
授权日
1900-01-01
公开(公告)号
US20020149315A1
申请日
2002-02-19
公开(公告)日
2002-10-17
当前申请(专利权)人
E. I. DU PONT DE NEMOURS AND COMPANY
发明人
BLANCHET-FINCHER, GRACIELA B.
简单同族
CA2437854A1 | CN1494485A | EP1363785A2 | HK1062903A | IL157039D0 | JP2004527075A | JP2004527075A5 | KR1020030077646A | US20020149315A1 | US20050029934A1 | US6852355 | US7229676 | WO2002070271A2 | WO2002070271A3
简单同族成员数量
14
简单同族被引用专利总数
127
诉讼案件数
0
法律状态/事件
未缴年费 | 权利转移
抱歉,您的浏览器不支持PDF预览,请点击链接下载PDF文件