专利数据库
统计分析
产业报告
专利数据监控
产业人才
行业动态
产业政策法规
维权援助
个人中心
详情
文本
图像
标题
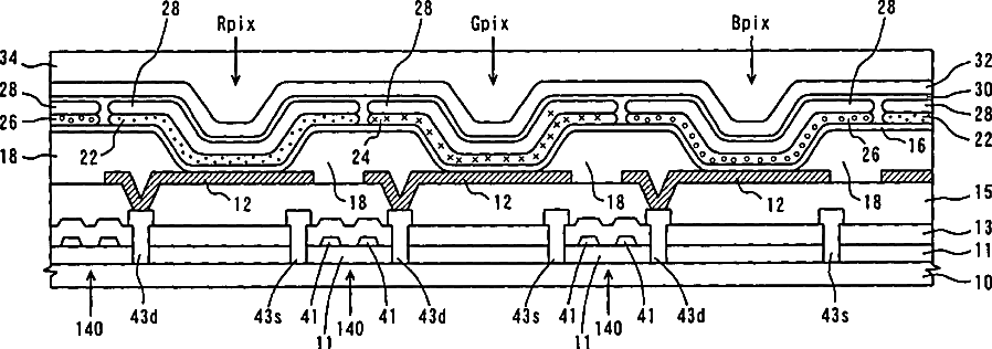
Organic electroluminescent display apparatus and method of fabricating the same
授权日
2007-10-09
公开(公告)号
US7279834
申请日
2003-09-25
公开(公告)日
2007-10-09
当前申请(专利权)人
SANYO ELECTRIC CO., LTD.
发明人
KANNO, HIROSHI | HAMADA, YUJI | MATSUKI, HIROSHI | NISHIO, YOSHITAKA
简单同族
CN1501753A | CN1501753B | JP2004119304A | KR100944861B1 | KR1020040027286A | US20060170339A1 | US7279834
简单同族成员数量
7
简单同族被引用专利总数
59
诉讼案件数
0
法律状态/事件
授权 | 权利转移
抱歉,您的浏览器不支持PDF预览,请点击链接下载PDF文件