专利数据库
统计分析
产业报告
专利数据监控
产业人才
行业动态
产业政策法规
维权援助
个人中心
详情
文本
图像
标题
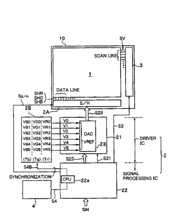
Image display device and the color balance adjustment method
授权日
2011-02-22
公开(公告)号
US7893892
申请日
2003-10-24
公开(公告)日
2011-02-22
当前申请(专利权)人
JOLED INC.
发明人
TAMURA, MITSUYASU | HASEGAWA, HIROSHI
简单同族
CN100594531C | CN1692396A | EP1469449A1 | EP1469449A4 | JP2004151501A | JP4423848B2 | KR100958706B1 | KR100994824B1 | KR100994826B1 | KR1020050056163A | KR1020100029856A | KR1020100029857A | TW200414123A | TWI260577B | US20050062691A1 | US7893892 | WO2004040542A1
简单同族成员数量
17
简单同族被引用专利总数
111
诉讼案件数
0
法律状态/事件
授权 | 权利转移
抱歉,您的浏览器不支持PDF预览,请点击链接下载PDF文件