专利数据库
统计分析
产业报告
专利数据监控
产业人才
行业动态
产业政策法规
维权援助
个人中心
详情
文本
图像
标题
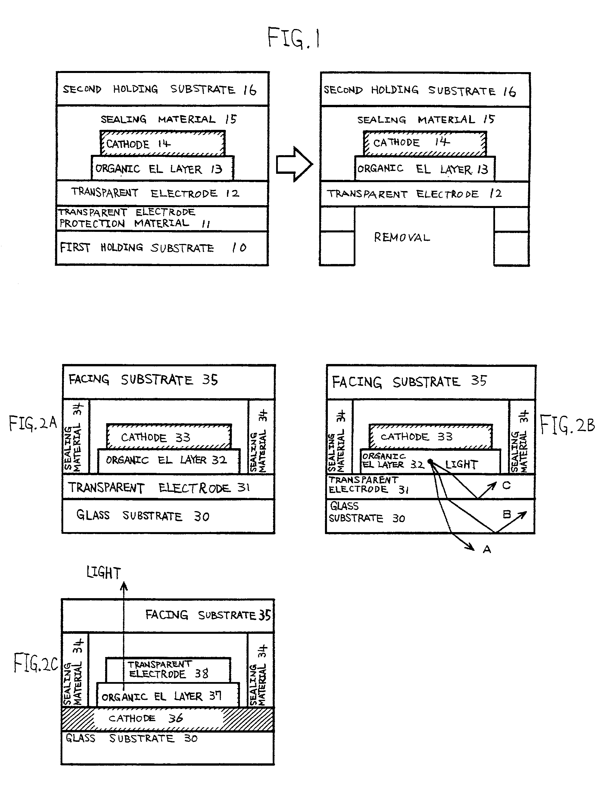
Display element and method of manufacturing the same
授权日
1900-01-01
公开(公告)号
US20020030770A1
申请日
2001-07-17
公开(公告)日
2002-03-14
当前申请(专利权)人
SEMICONDUCTOR ENERGY LABORATORY CO., LTD.
发明人
TSUTSUI, TETSUO | SUMIOKA, KAZUHIRO
简单同族
JP2002040964A | JP2002040964A5 | JP4766628B2 | KR100843111B1 | KR1020020011104A | TWI247172B | US20020030770A1 | US20050088089A1 | US20080315758A1 | US6866555 | US7414364 | US7768193
简单同族成员数量
12
简单同族被引用专利总数
49
诉讼案件数
0
法律状态/事件
授权 | 权利转移
抱歉,您的浏览器不支持PDF预览,请点击链接下载PDF文件