专利数据库
统计分析
产业报告
专利数据监控
产业人才
行业动态
产业政策法规
维权援助
个人中心
详情
文本
图像
标题
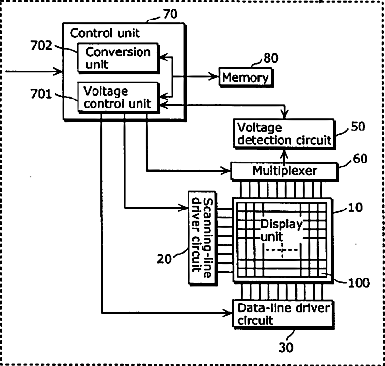
Display device and method for controlling the same
授权日
2013-10-01
公开(公告)号
US8547307
申请日
2010-04-30
公开(公告)日
2013-10-01
当前申请(专利权)人
JOLED INC
发明人
SHIROUZU, HIROSHI | NAKAMURA, TETSUROU
简单同族
CN101960509A | CN101960509B | JP5010030B2 | JPWO2010001590A1 | KR101574808B1 | KR1020110023846A | US20100214273A1 | US20130285889A1 | US8547307 | US8890778 | WO2010001590A1
简单同族成员数量
11
简单同族被引用专利总数
91
诉讼案件数
0
法律状态/事件
授权 | 权利转移
抱歉,您的浏览器不支持PDF预览,请点击链接下载PDF文件