专利数据库
统计分析
产业报告
专利数据监控
产业人才
行业动态
产业政策法规
维权援助
个人中心
详情
文本
图像
标题
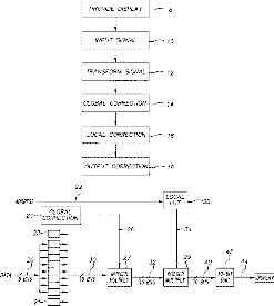
Method and apparatus for uniformity and brightness correction in an OLED display
授权日
2006-01-24
公开(公告)号
US6989636
申请日
2004-06-16
公开(公告)日
2006-01-24
当前申请(专利权)人
GLOBAL OLED TECHNOLOGY LLC
发明人
COK, RONALD S. | FORD, JAMES H.
简单同族
EP1756884A2 | JP2008503775A | JP2008503775A5 | JP5400295B2 | US20050280615A1 | US6989636 | WO2006007424A2 | WO2006007424A3
简单同族成员数量
8
简单同族被引用专利总数
178
诉讼案件数
0
法律状态/事件
授权 | 权利转移
抱歉,您的浏览器不支持PDF预览,请点击链接下载PDF文件