专利数据库
统计分析
产业报告
专利数据监控
产业人才
行业动态
产业政策法规
维权援助
个人中心
详情
文本
图像
标题
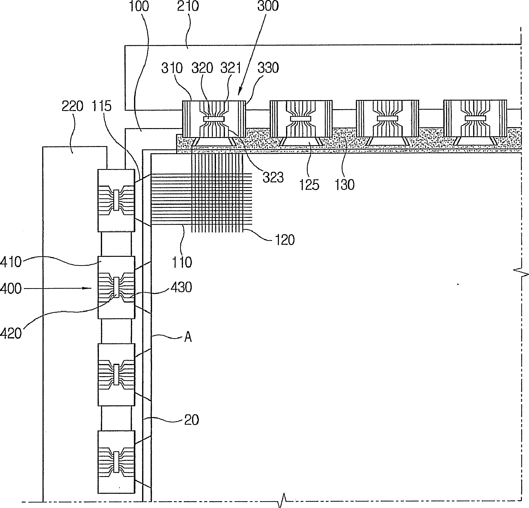
Display device, flexible member, and method thereof
授权日
1900-01-01
公开(公告)号
US20080048948A1
申请日
2007-07-17
公开(公告)日
2008-02-28
当前申请(专利权)人
SAMSUNG ELECTRONICS CO., LTD.
发明人
KOH, BYUNG-SIK | GOH, JOON-CHUL
简单同族
CN101131800A | JP2008052248A | JP2008052248A5 | KR1020080017773A | TW200814843A | US20080048948A1
简单同族成员数量
6
简单同族被引用专利总数
53
诉讼案件数
0
法律状态/事件
撤回 | 权利转移
抱歉,您的浏览器不支持PDF预览,请点击链接下载PDF文件