专利数据库
统计分析
产业报告
专利数据监控
产业人才
行业动态
产业政策法规
维权援助
个人中心
详情
文本
图像
标题
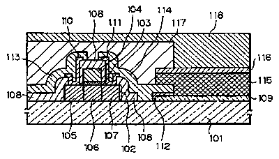
Thin film transistor, organic electroluminescence display device and manufacturing method of the same
授权日
2009-01-13
公开(公告)号
US7476900
申请日
2005-12-08
公开(公告)日
2009-01-13
当前申请(专利权)人
SEMICONDUCTOR ENERGY LABORATORY CO., LTD. | TDK CORPORATION
发明人
YAMAUCHI, YUKIO | ARAI, MICHIO
简单同族
US20050146262A1 | US20060087222A1 | US6853083 | US6992435 | US7476900
简单同族成员数量
5
简单同族被引用专利总数
99
诉讼案件数
0
法律状态/事件
期限届满
抱歉,您的浏览器不支持PDF预览,请点击链接下载PDF文件