专利数据库
统计分析
产业报告
专利数据监控
产业人才
行业动态
产业政策法规
维权援助
个人中心
详情
文本
图像
标题
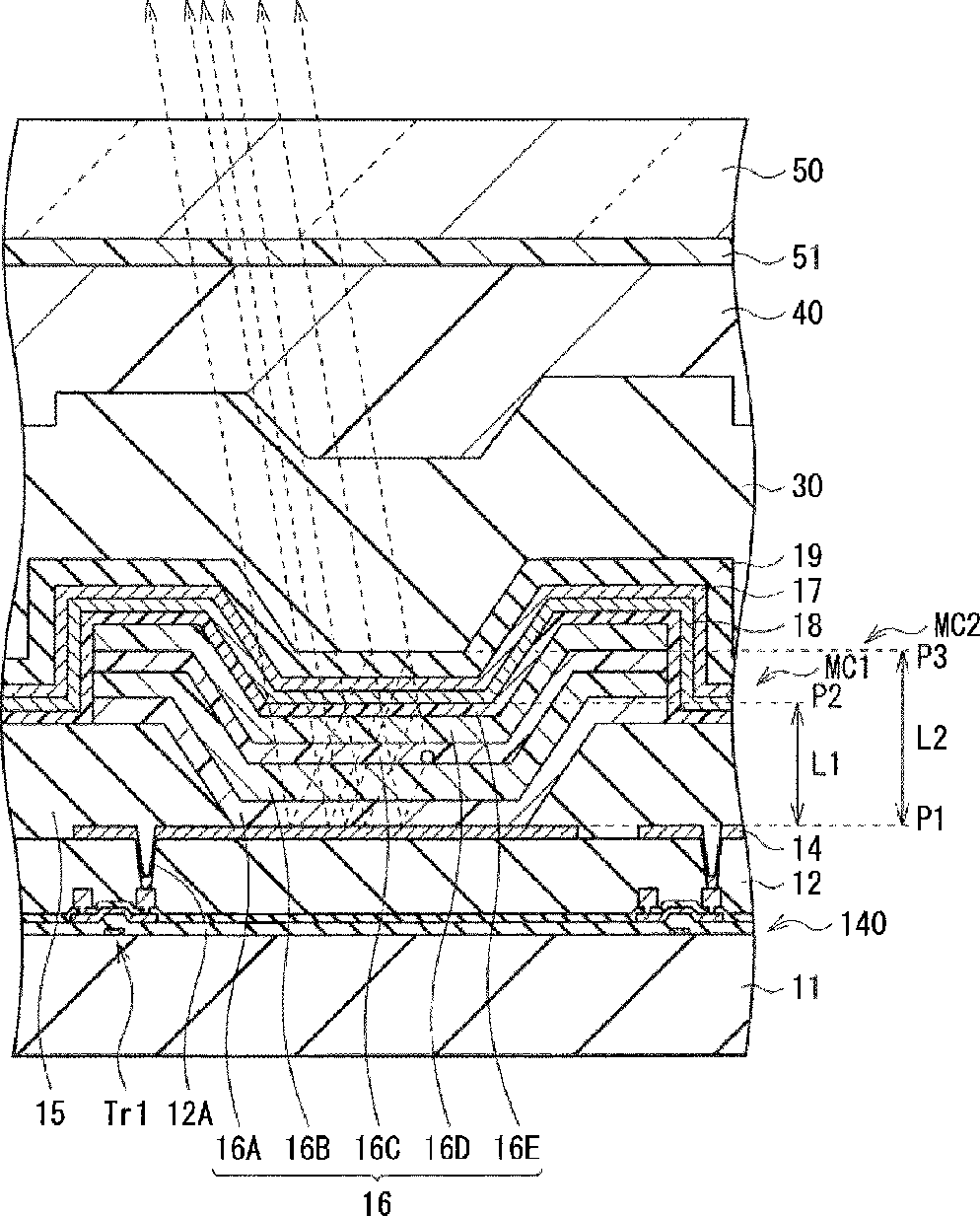
Organic electroluminescence device, display unit including the same, and method of manufacturing an organic electroluminescence device
授权日
2013-04-09
公开(公告)号
US8415658
申请日
2010-06-14
公开(公告)日
2013-04-09
当前申请(专利权)人
SONY CORPORATION
发明人
KASHIWABARA, MITSUHIRO
简单同族
CN101931057A | CN101931057B | JP2011008958A | JP2011008958A5 | JP5453952B2 | KR1020100138773A | TW201108855A | TWI448195B | US20100320481A1 | US20130200347A1 | US20150048355A1 | US8415658 | US8916861
简单同族成员数量
13
简单同族被引用专利总数
48
诉讼案件数
0
法律状态/事件
未缴年费 | 权利转移
抱歉,您的浏览器不支持PDF预览,请点击链接下载PDF文件