专利数据库
统计分析
产业报告
专利数据监控
产业人才
行业动态
产业政策法规
维权援助
个人中心
详情
文本
图像
标题
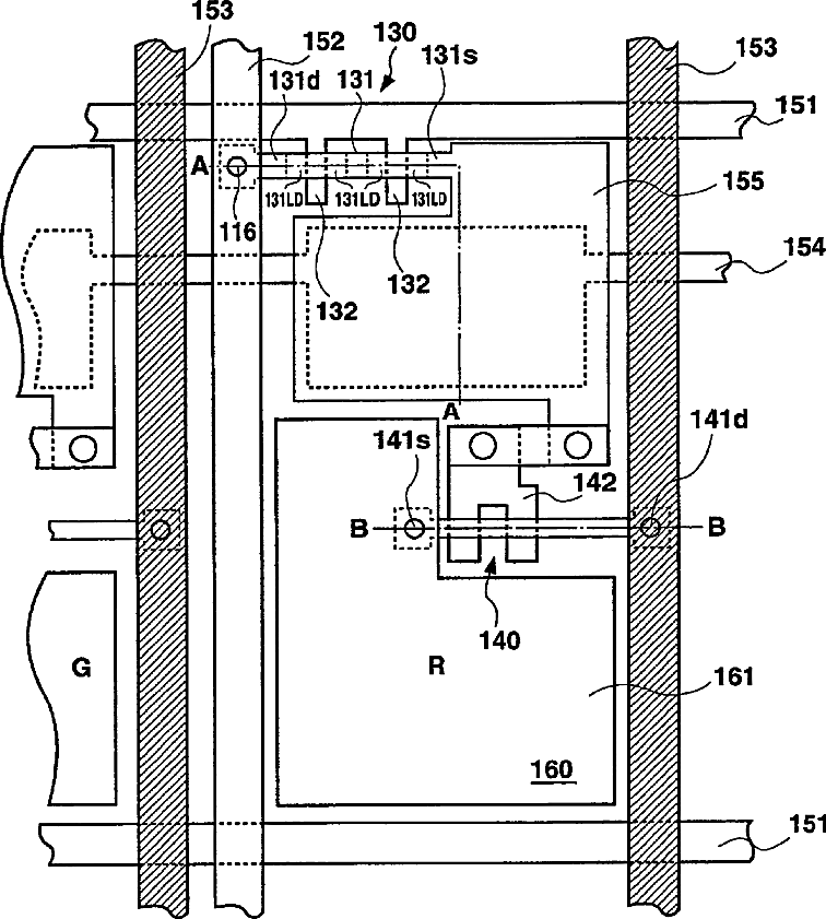
Emissive display device and electroluminescence display device with uniform luminance
授权日
1900-01-01
公开(公告)号
US20030076046A1
申请日
2000-02-23
公开(公告)日
2003-04-24
当前申请(专利权)人
SANYO ELECTRIC CO., LTD.
发明人
KOMIYA, NAOAKI | YOKOYAMA, RYOICHI | YAMADA, TSUTOMU | NISHIKAWA, RYUJI
简单同族
US20030076046A1 | US20040150351A1 | US6724149 | US7009345
简单同族成员数量
4
简单同族被引用专利总数
174
诉讼案件数
0
法律状态/事件
期限届满 | 权利转移
抱歉,您的浏览器不支持PDF预览,请点击链接下载PDF文件