专利数据库
统计分析
产业报告
专利数据监控
产业人才
行业动态
产业政策法规
维权援助
个人中心
详情
文本
图像
标题
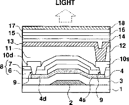
Display apparatus having electroluminescence elements
授权日
2005-10-04
公开(公告)号
US6951495
申请日
2003-07-28
公开(公告)日
2005-10-04
当前申请(专利权)人
SANYO ELECTRIC CO., LTD.
发明人
YONEDA, KIYOSHI
简单同族
JP1999251069A | JP3203227B2 | KR100661439B1 | KR1019990072988A | US20010026123A1 | US20040021434A1 | US6630784 | US6951495
简单同族成员数量
8
简单同族被引用专利总数
167
诉讼案件数
0
法律状态/事件
期限届满
抱歉,您的浏览器不支持PDF预览,请点击链接下载PDF文件