专利数据库
统计分析
产业报告
专利数据监控
产业人才
行业动态
产业政策法规
维权援助
个人中心
详情
文本
图像
标题
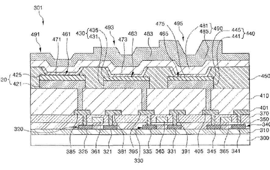
Flat panel display with high efficiency and method of fabricating the same
授权日
2010-10-19
公开(公告)号
US7816857
申请日
2004-07-22
公开(公告)日
2010-10-19
当前申请(专利权)人
SAMSUNG DISPLAY CO., LTD.
发明人
RYU, SEOUNG-YOON | SONG, SEUNG-YONG
简单同族
CN100517792C | CN1578568A | KR100542993B1 | KR1020050012995A | US20050017630A1 | US20110003406A1 | US7816857 | US8096847
简单同族成员数量
8
简单同族被引用专利总数
62
诉讼案件数
0
法律状态/事件
授权 | 权利转移
抱歉,您的浏览器不支持PDF预览,请点击链接下载PDF文件