专利数据库
统计分析
产业报告
专利数据监控
产业人才
行业动态
产业政策法规
维权援助
个人中心
详情
文本
图像
标题
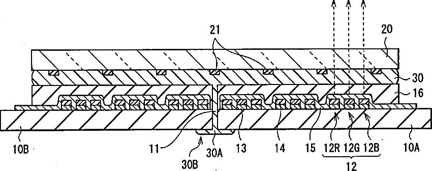
Method of manufacturing display unit
授权日
1900-01-01
公开(公告)号
US20050020175A1
申请日
2004-06-18
公开(公告)日
2005-01-27
当前申请(专利权)人
SONY CORPORATION
发明人
TAMASHIRO, HITOSHI | IWASE, YUICHI | TERADA, SHOJI
简单同族
CN1575059A | GB0413858D0 | GB2403337A | GB2403337B | JP2005017333A | JP4059153B2 | KR1020050000315A | TW200515328A | TWI250480B | US20050020175A1 | US7042546
简单同族成员数量
11
简单同族被引用专利总数
68
诉讼案件数
0
法律状态/事件
未缴年费 | 权利转移
抱歉,您的浏览器不支持PDF预览,请点击链接下载PDF文件