专利数据库
统计分析
产业报告
专利数据监控
产业人才
行业动态
产业政策法规
维权援助
个人中心
详情
文本
图像
标题
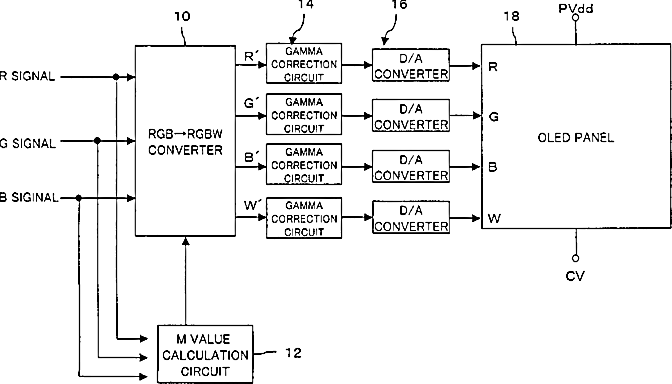
OLED display apparatus
授权日
2011-07-19
公开(公告)号
US7982693
申请日
2005-06-06
公开(公告)日
2011-07-19
当前申请(专利权)人
GLOBAL OLED TECHNOLOGY LLC
发明人
MIZUKOSHI, SEIICHI | MORI, NOBUYUKI | KOHNO, MAKOTO
简单同族
JP2006003475A | US20080297448A1 | US7982693 | WO2006001988A1
简单同族成员数量
4
简单同族被引用专利总数
109
诉讼案件数
0
法律状态/事件
授权 | 权利转移
抱歉,您的浏览器不支持PDF预览,请点击链接下载PDF文件