专利数据库
统计分析
产业报告
专利数据监控
产业人才
行业动态
产业政策法规
维权援助
个人中心
详情
文本
图像
标题
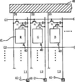
Electro-luminescent display and driving method thereof
授权日
2003-06-24
公开(公告)号
US6583577
申请日
2000-08-18
公开(公告)日
2003-06-24
当前申请(专利权)人
LG DISPLAY CO., LTD.
发明人
CHOI, WOONG-SIK | BAE, SUNG-JOON
简单同族
KR100675623B1 | KR1020010028479A | US6583577
简单同族成员数量
3
简单同族被引用专利总数
50
诉讼案件数
0
法律状态/事件
授权 | 权利转移
抱歉,您的浏览器不支持PDF预览,请点击链接下载PDF文件