专利数据库
统计分析
产业报告
专利数据监控
产业人才
行业动态
产业政策法规
维权援助
个人中心
详情
文本
图像
标题
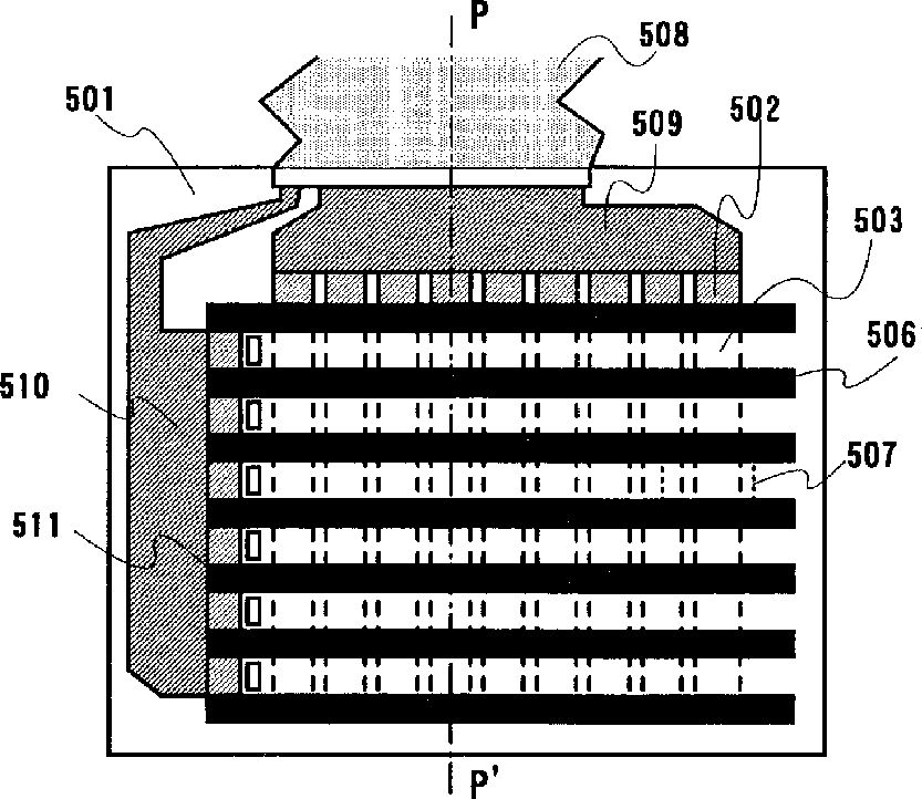
Display device and method for manufacturing thereof
授权日
1900-01-01
公开(公告)号
US20030227253A1
申请日
2003-01-16
公开(公告)日
2003-12-11
当前申请(专利权)人
SEMICONDUCTOR ENERGY LABORATORY CO., LTD.
发明人
SEO, SATOSHI | YAMAZAKI, SHUNPEI
简单同族
CN100524888C | CN101630690A | CN101630690B | CN1434669A | EP1331667A2 | EP1331667A3 | JP2011034985A | JP2013041850A | JP2014017514A | JP2015167138A | JP2016167640A | JP2018011069A | JP2019175863A | JP5271993B2 | JP6049797B2 | KR100989788B1 | KR101170345B1 | KR101170346B1 | KR101170347B1 | KR1020030064337A | KR1020100086447A | KR1020110091635A | KR1020110099672A | TW200302438A | TWI258317B | US20030227253A1 | US20070200491A1 | US20100230669A1 | US20120205631A1 | US20130273802A1 | US20140284586A1 | US7199516 | US7728513 | US8004183 | US8450925 | US8747178 | US8937429
简单同族成员数量
37
简单同族被引用专利总数
324
诉讼案件数
0
法律状态/事件
未缴年费 | 权利转移
抱歉,您的浏览器不支持PDF预览,请点击链接下载PDF文件