专利数据库
统计分析
产业报告
专利数据监控
产业人才
行业动态
产业政策法规
维权援助
个人中心
详情
文本
图像
标题
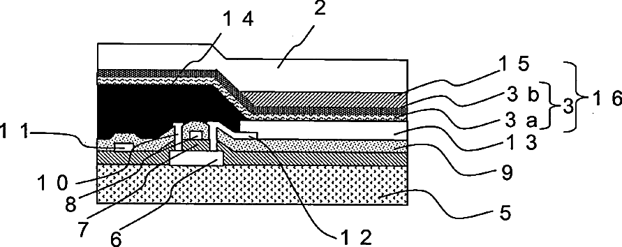
Organic Electroluminescence Element and Display Using the Same
授权日
1900-01-01
公开(公告)号
US20080231179A1
申请日
2008-03-19
公开(公告)日
2008-09-25
当前申请(专利权)人
TOPPAN PRINTING CO., LTD.
发明人
ABE, YUKO | KITAZUME, EIICHI
简单同族
JP2008270731A | JP5326289B2 | US20080231179A1 | US7723916
简单同族成员数量
4
简单同族被引用专利总数
48
诉讼案件数
0
法律状态/事件
未缴年费 | 权利转移
抱歉,您的浏览器不支持PDF预览,请点击链接下载PDF文件