专利数据库
统计分析
产业报告
专利数据监控
产业人才
行业动态
产业政策法规
维权援助
个人中心
详情
文本
图像
标题
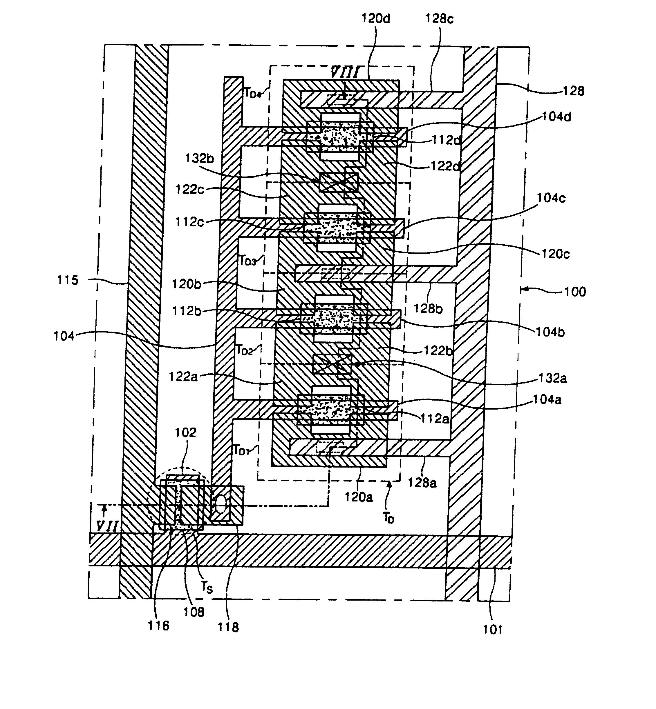
Active matrix organic electroluminescent display device and method of fabricating the same
授权日
2011-12-20
公开(公告)号
US8081174
申请日
2010-12-23
公开(公告)日
2011-12-20
当前申请(专利权)人
LG DISPLAY CO., LTD.
发明人
PARK, JAE-YONG | CHO, SO-HAENG
简单同族
CN100379053C | CN1516532A | DE10360454A1 | DE10360454A8 | DE10360454B4 | FR2849534A1 | FR2849534B1 | GB0329646D0 | GB2396950A | GB2396950B | JP2004212997A | JP2007188101A | JP2008225509A | JP4850210B2 | KR100543478B1 | KR1020040062095A | NL1025145A | NL1025145C | TW200420189A | TWI240418B | US20050012694A1 | US20080062094A1 | US20080062095A1 | US20110095968A1 | US7304639 | US7911460 | US7928971 | US8081174
简单同族成员数量
28
简单同族被引用专利总数
77
诉讼案件数
0
法律状态/事件
授权
抱歉,您的浏览器不支持PDF预览,请点击链接下载PDF文件