专利数据库
统计分析
产业报告
专利数据监控
产业人才
行业动态
产业政策法规
维权援助
个人中心
详情
文本
图像
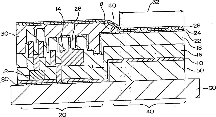
标题
Organic EL display device
授权日
1900-01-01
公开(公告)号
US20050099117A1
申请日
2004-12-03
公开(公告)日
2005-05-12
当前申请(专利权)人
SAMSUNG DISPLAY CO., LTD.
发明人
IGA, DAISUKE
简单同族
JP2003233332A | JP4094863B2 | KR100501707B1 | KR1020030068455A | US20030151358A1 | US20050099117A1 | US6836069 | US7301275
简单同族成员数量
8
简单同族被引用专利总数
76
诉讼案件数
0
法律状态/事件
授权 | 权利转移
抱歉,您的浏览器不支持PDF预览,请点击链接下载PDF文件