专利数据库
统计分析
产业报告
专利数据监控
产业人才
行业动态
产业政策法规
维权援助
个人中心
详情
文本
图像
标题
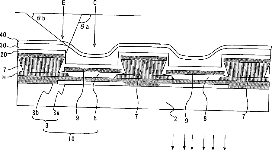
Organic electroluminescence display panel and method of manufacturing the same
授权日
1900-01-01
公开(公告)号
US20010054867A1
申请日
2001-03-29
公开(公告)日
2001-12-27
当前申请(专利权)人
PIONEER CORPORATION
发明人
KUBOTA, HIROFUMI
简单同族
JP2001284041A | JP4004709B2 | US20010054867A1 | US6429584
简单同族成员数量
4
简单同族被引用专利总数
318
诉讼案件数
0
法律状态/事件
授权 | 权利转移
抱歉,您的浏览器不支持PDF预览,请点击链接下载PDF文件