专利数据库
统计分析
产业报告
专利数据监控
产业人才
行业动态
产业政策法规
维权援助
个人中心
详情
文本
图像
标题
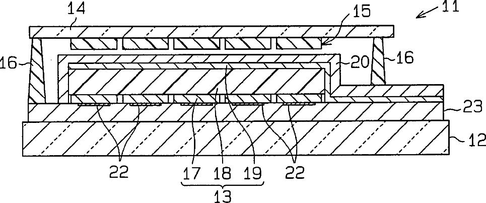
Organic electroluminescent color display unit
授权日
1900-01-01
公开(公告)号
US20030173895A1
申请日
2003-01-30
公开(公告)日
2003-09-18
当前申请(专利权)人
KABUSHIKI KAISHA TOYOTA JIDOSHOKKI
发明人
KATO, YOSHIFUMI | TAKEUCHI, KAZUYOSHI | YAMAMOTO, ICHIRO
简单同族
DE10302108A1 | JP2003223992A | KR100567953B1 | KR1020030065395A | US20030173895A1 | US7109649
简单同族成员数量
6
简单同族被引用专利总数
48
诉讼案件数
0
法律状态/事件
未缴年费 | 权利转移
抱歉,您的浏览器不支持PDF预览,请点击链接下载PDF文件