专利数据库
统计分析
产业报告
专利数据监控
产业人才
行业动态
产业政策法规
维权援助
个人中心
详情
文本
图像
标题
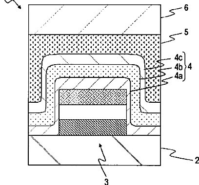
Display device with protective film having a low density silicon nitride film between high density silicon nitride films
授权日
2012-08-07
公开(公告)号
US8237361
申请日
2006-12-07
公开(公告)日
2012-08-07
当前申请(专利权)人
SONY CORPORATION
发明人
IMAI, TOSHIAKI | ABE, KAORU | KUBOTA, SHINJI | MORIKAWA, SHINICHIRO | NISHIMURA, TEIICHIRO
简单同族
JP2007184251A | KR1020080073320A | TW200735702A | TWI339544B | US20090309486A1 | US20120280614A1 | US8237361 | WO2007066719A1
简单同族成员数量
8
简单同族被引用专利总数
62
诉讼案件数
0
法律状态/事件
未缴年费 | 权利转移
抱歉,您的浏览器不支持PDF预览,请点击链接下载PDF文件