专利数据库
统计分析
产业报告
专利数据监控
产业人才
行业动态
产业政策法规
维权援助
个人中心
详情
文本
图像
标题
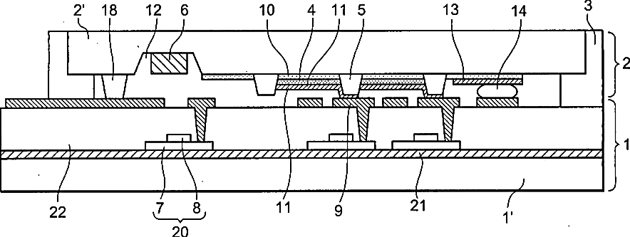
Organic electroluminescence display device
授权日
1900-01-01
公开(公告)号
US20040227459A1
申请日
2004-05-05
公开(公告)日
2004-11-18
当前申请(专利权)人
VISTA PEAK VENTURES, LLC
发明人
IMURA, HIRONORI
简单同族
CN100514699C | CN1551695A | JP2004342432A | KR100707544B1 | KR1020040098593A | US20040227459A1 | US7057340
简单同族成员数量
7
简单同族被引用专利总数
74
诉讼案件数
0
法律状态/事件
授权 | 权利转移
抱歉,您的浏览器不支持PDF预览,请点击链接下载PDF文件