专利数据库
统计分析
产业报告
专利数据监控
产业人才
行业动态
产业政策法规
维权援助
个人中心
详情
文本
图像
标题
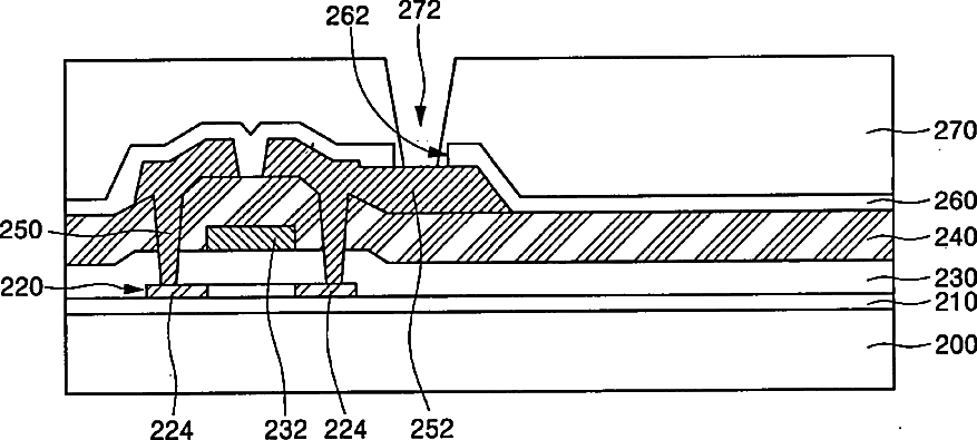
Organic light emitting display and method of fabricating the same
授权日
1900-01-01
公开(公告)号
US20060049753A1
申请日
2005-09-06
公开(公告)日
2006-03-09
当前申请(专利权)人
SAMSUNG DISPLAY CO., LTD.
发明人
KANG, TAE-WOOK | LEE, KWAN-HEE
简单同族
CN100426517C | CN1773720A | JP2006080054A | JP4181143B2 | KR100579198B1 | KR1020060023063A | US20060049753A1 | US20080284327A1 | US7453198 | US7914354
简单同族成员数量
10
简单同族被引用专利总数
76
诉讼案件数
0
法律状态/事件
未缴年费 | 权利转移
抱歉,您的浏览器不支持PDF预览,请点击链接下载PDF文件