专利数据库
统计分析
产业报告
专利数据监控
产业人才
行业动态
产业政策法规
维权援助
个人中心
详情
文本
图像
标题
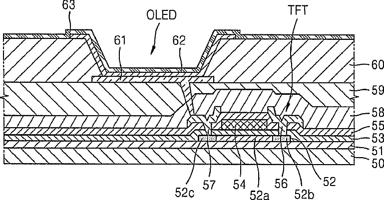
Thin film deposition apparatus and method of manufacturing organic light-emitting display device by using the same
授权日
1900-01-01
公开(公告)号
US20110053300A1
申请日
2010-08-24
公开(公告)日
2011-03-03
当前申请(专利权)人
SAMSUNG DISPLAY CO., LTD.
发明人
RYU, JAE-KWANG | PARK, HYUN-SOOK | LEE, YUN-MI | KIM, JONG-HEON | KIM, SANG-SOO | OH, JI-SOOK
简单同族
CN101997092A | CN101997092B | DE102010039725A1 | JP2011047035A | JP5328726B2 | US20110053300A1 | US8968829
简单同族成员数量
7
简单同族被引用专利总数
113
诉讼案件数
0
法律状态/事件
授权 | 权利转移
抱歉,您的浏览器不支持PDF预览,请点击链接下载PDF文件