专利数据库
统计分析
产业报告
专利数据监控
产业人才
行业动态
产业政策法规
维权援助
个人中心
详情
文本
图像
标题
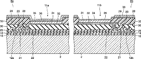
Device for displaying images on its front and back surfaces
授权日
2009-10-27
公开(公告)号
US7608992
申请日
2003-08-27
公开(公告)日
2009-10-27
当前申请(专利权)人
TOSHIBA MOBILE DISPLAY CO., LTD.
发明人
KOBAYASHI, MICHIYA
简单同族
EP1547449A1 | EP1547449A4 | JP2004086014A | JP4234376B2 | KR100854160B1 | KR1020050050650A | TW200405064A | TWI230283B | US20060139268A1 | US7608992 | WO2004026001A1
简单同族成员数量
11
简单同族被引用专利总数
86
诉讼案件数
0
法律状态/事件
未缴年费 | 权利转移
抱歉,您的浏览器不支持PDF预览,请点击链接下载PDF文件