专利数据库
统计分析
产业报告
专利数据监控
产业人才
行业动态
产业政策法规
维权援助
个人中心
详情
文本
图像
标题
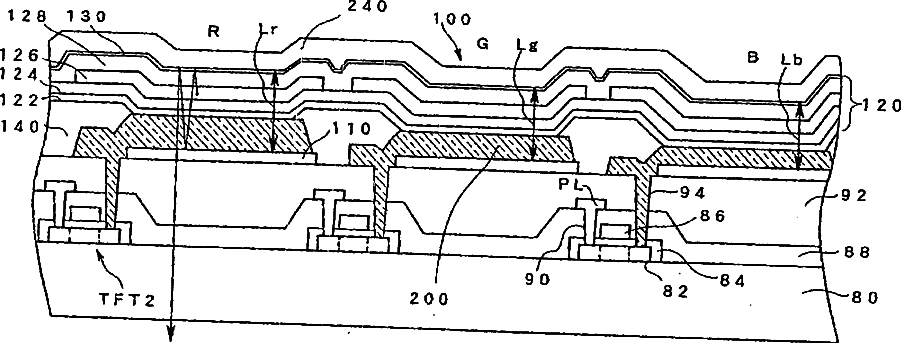
Display device and method for manufacturing the same
授权日
1900-01-01
公开(公告)号
US20050140277A1
申请日
2004-12-22
公开(公告)日
2005-06-30
当前申请(专利权)人
SANYO ELECTRIC CO., LTD.
发明人
SUZUKI, KOJI | NISHIKAWA, RYUJI | YONEDA, KIYOSHI
简单同族
CN100431165C | CN1638580A | JP2005197011A | JP4475942B2 | KR100684243B1 | KR1020050067067A | TW200522782A | TWI300670B | US20050140277A1 | US7166959
简单同族成员数量
10
简单同族被引用专利总数
154
诉讼案件数
0
法律状态/事件
授权 | 权利转移
抱歉,您的浏览器不支持PDF预览,请点击链接下载PDF文件