专利数据库
统计分析
产业报告
专利数据监控
产业人才
行业动态
产业政策法规
维权援助
个人中心
详情
文本
图像
标题
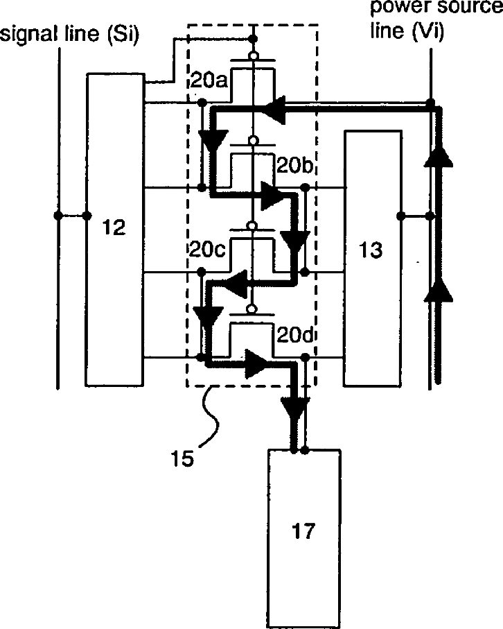
Display device, light emitting device, and electronic equipment
授权日
1900-01-01
公开(公告)号
US20030164685A1
申请日
2003-02-28
公开(公告)日
2003-09-04
当前申请(专利权)人
SEMICONDUCTOR ENERGY LABORATORY CO., LTD.
发明人
INUKAI, KAZUTAKA
简单同族
CN100361183C | CN1442843A | DE60336871D1 | EP1341148A2 | EP1341148A3 | EP1341148B1 | KR100952318B1 | KR1020030071631A | SG110023A1 | TW200304102A | TWI276031B | US20030164685A1 | US20050030304A1 | US6798148 | US7528799
简单同族成员数量
15
简单同族被引用专利总数
127
诉讼案件数
0
法律状态/事件
授权 | 权利转移
抱歉,您的浏览器不支持PDF预览,请点击链接下载PDF文件